Volvo Workshop Service and Repair Manuals
HOME
FEATURES
MENU
INDEX
ABOUT US
Diagram Information and Instructions|Page 25182 >
< Diagram Information and Instructions|Page 25180
S60 2.5T L5-2.5L Turbo VIN 59 B5254T2 (2006)
Wiper and Washer Systems
Sensors and Switches - Wiper and Washer Systems / Rain Sensor / Component Information
Diagrams / Diagram Information and Instructions
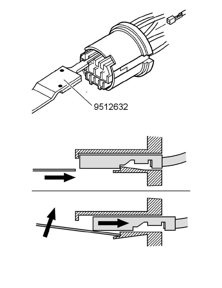
Page 25181
Page 42
Wiper and Washer Systems
Sensors and Switches - Wiper and Washer Systems / Rain Sensor / Component Information
Diagrams / Diagram Information and Instructions
Page 25181
Diagram Information and Instructions|Page 25182 >
< Diagram Information and Instructions|Page 25180