volvo Workshop Repair Guides

Volvo Workshop Service and Repair Manuals

Fuel Door Release Relay > < Parking Assist Control Module|Service and Repair
Page 1
background image

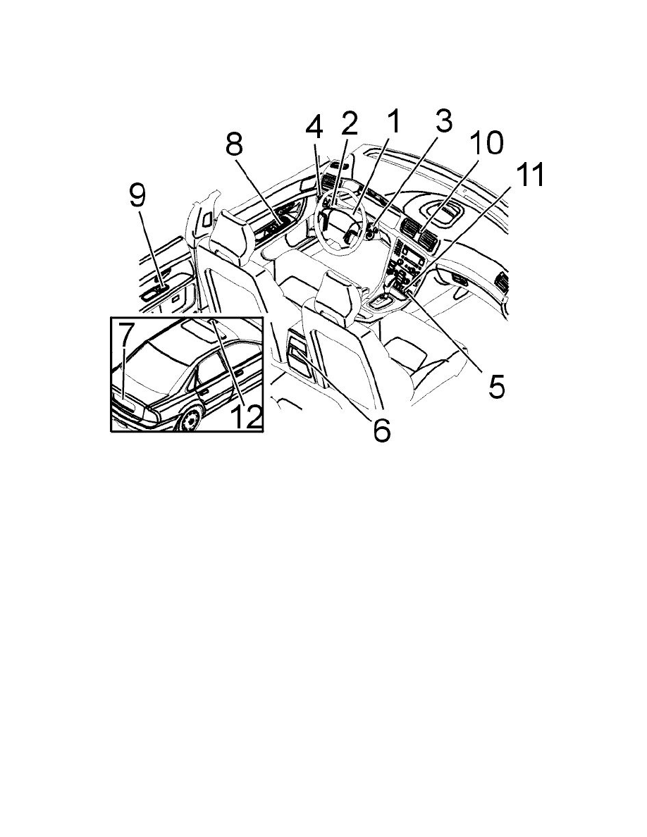
Door Module: Locations

Other electrical components

Switches

Other Electrical Components (Switches)

8. Door module, driver's door module and passenger door module

Fuel Door Release Relay > < Parking Assist Control Module|Service and Repair