volvo Workshop Repair Guides

Volvo Workshop Service and Repair Manuals

Sunroof / Moonroof Switch|Diagrams > < Diagram Information and Instructions|Page 6708
Page 1
background image

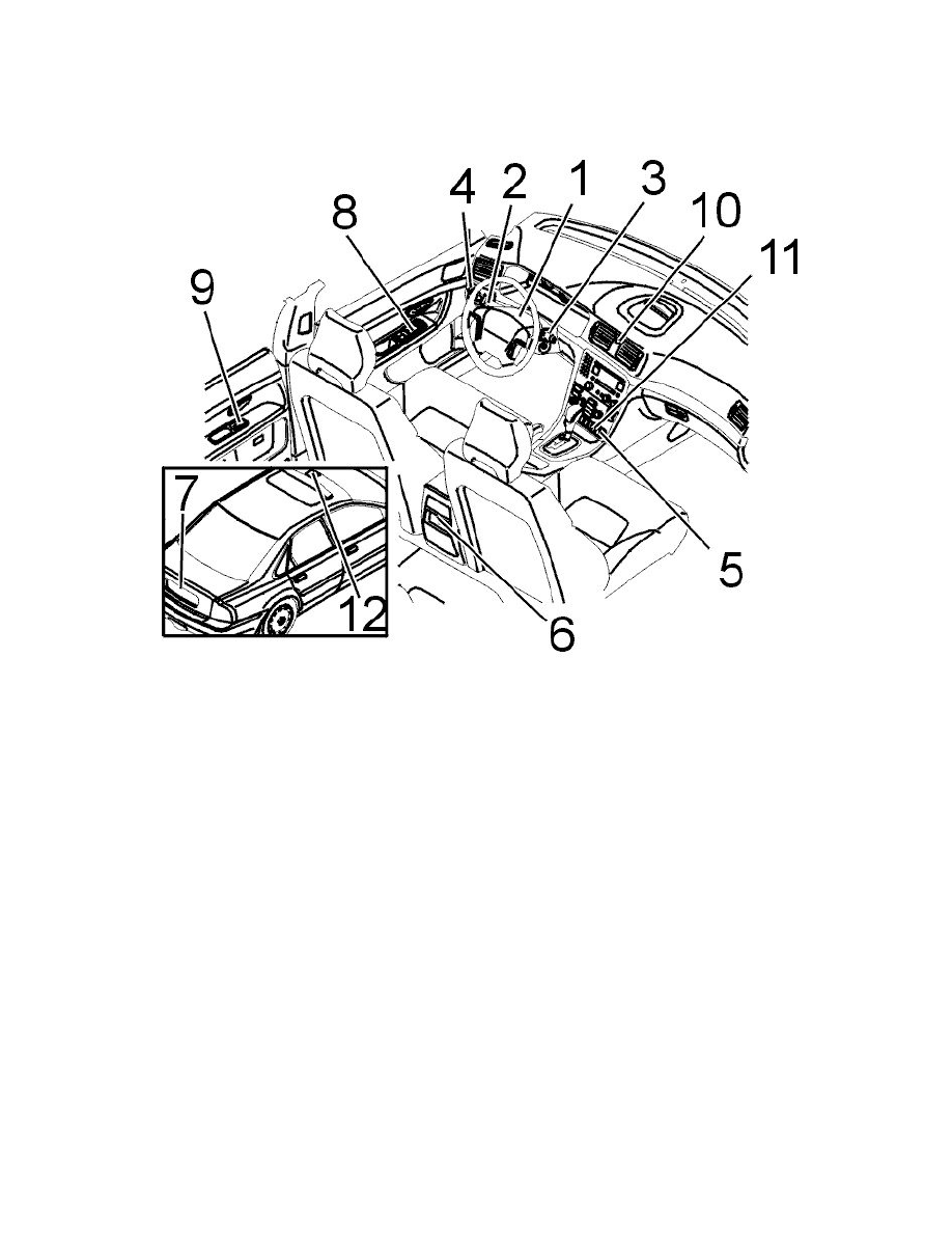
Sunroof / Moonroof Switch: Locations

Other electrical components

Switches

Other Electrical Components (Switches)

12.

Sun roof switch.

Sunroof / Moonroof Switch|Diagrams > < Diagram Information and Instructions|Page 6708