volvo Workshop Repair Guides

Volvo Workshop Service and Repair Manuals

Trunk / Liftgate Switch|Service and Repair > < Diagram Information and Instructions|Page 6986
Page 1
background image

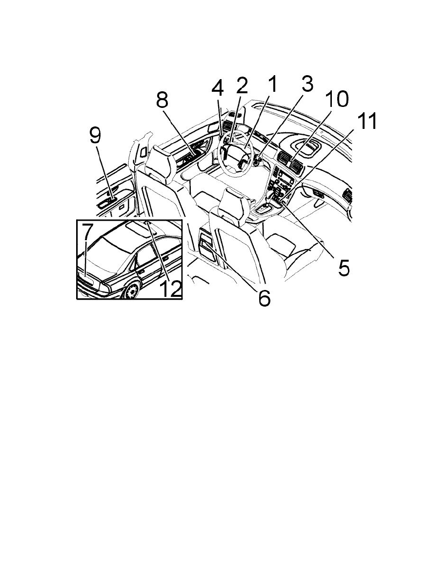
Trunk / Liftgate Switch: Locations

Other electrical components

Switches

Other Electrical Components (Switches)

7.

Trunk lid handle and switch

Trunk / Liftgate Switch|Service and Repair > < Diagram Information and Instructions|Page 6986