volvo Workshop Repair Guides

Volvo Workshop Service and Repair Manuals

Fog/Driving Lamp Switch > < Diagram Information and Instructions|Page 8332
Page 1
background image

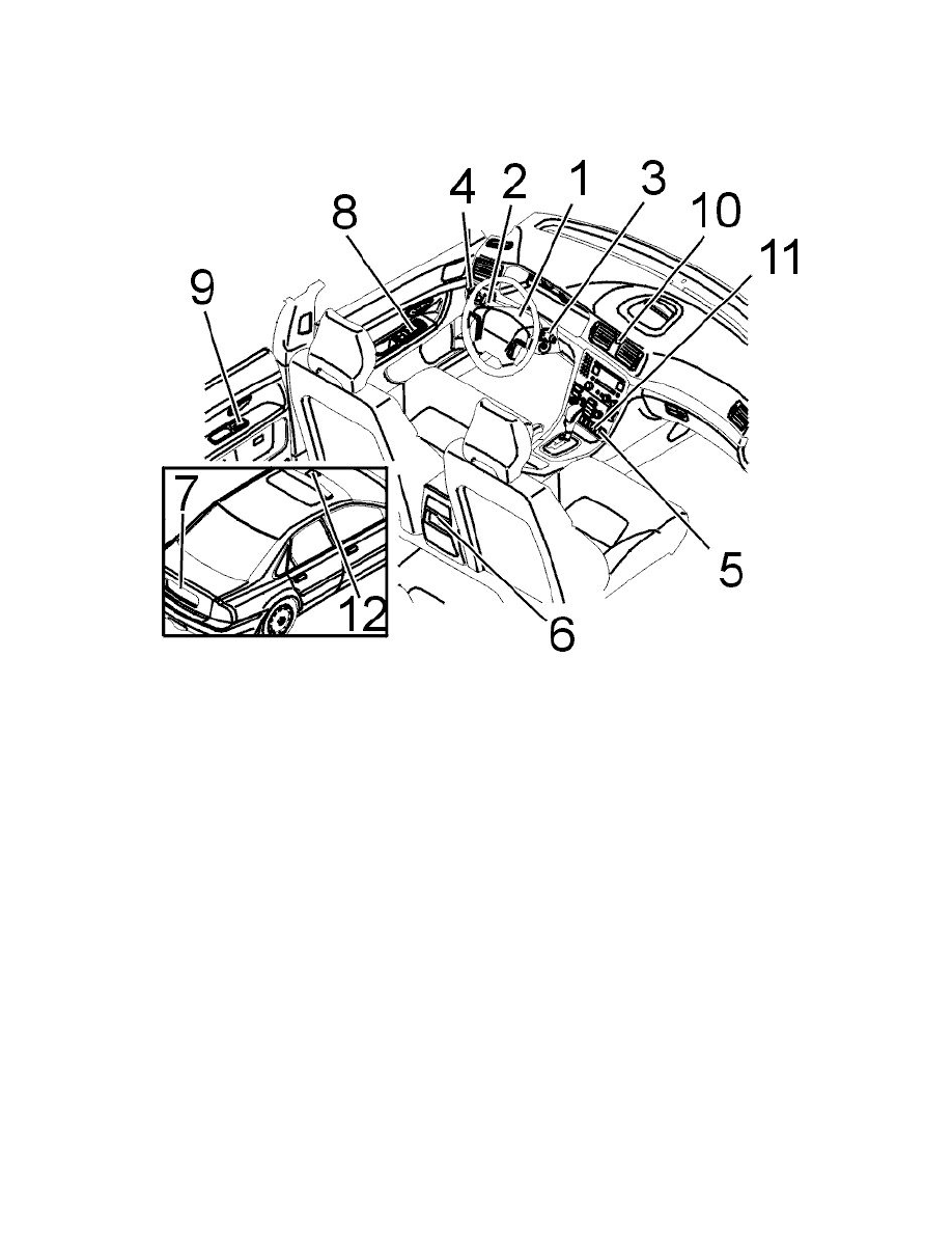
Door Switch: Locations

Other electrical components

Switches

Other Electrical Components (Switches)

9.

Rear door switch

Fog/Driving Lamp Switch > < Diagram Information and Instructions|Page 8332