volvo Workshop Repair Guides

Volvo Workshop Service and Repair Manuals

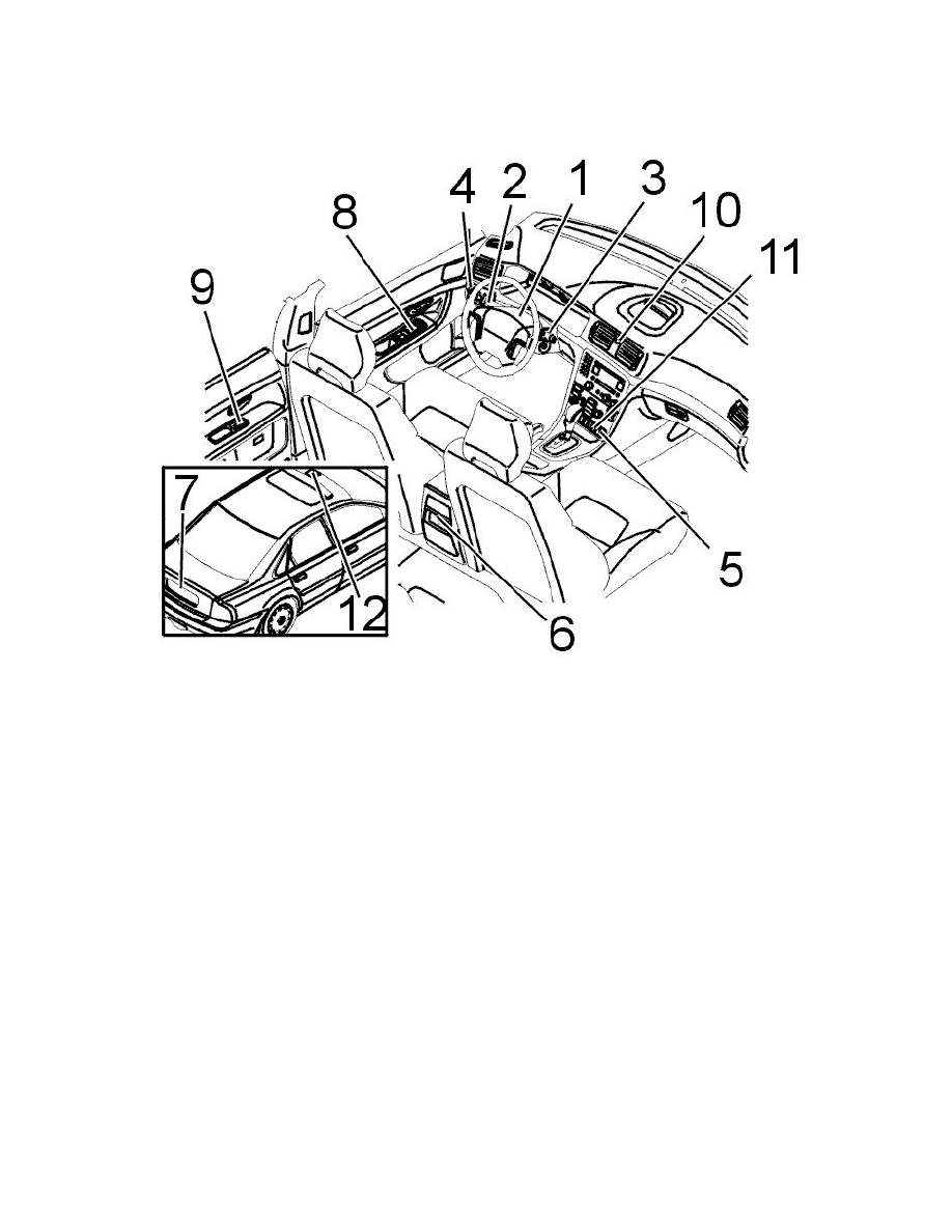
Hazard Warning Switch|Diagrams > < Diagram Information and Instructions|Page 8617
Page 1
background image

Hazard Warning Switch: Locations

Other electrical components

Switches

Other Electrical Components (Switches)

10. Switch for the hazard warning signal flasher

Hazard Warning Switch|Diagrams > < Diagram Information and Instructions|Page 8617