volvo Workshop Repair Guides

Volvo Workshop Service and Repair Manuals

Turn Signal Switch|Diagrams > < Trunk Lamp Switch|Service and Repair
Page 1
background image

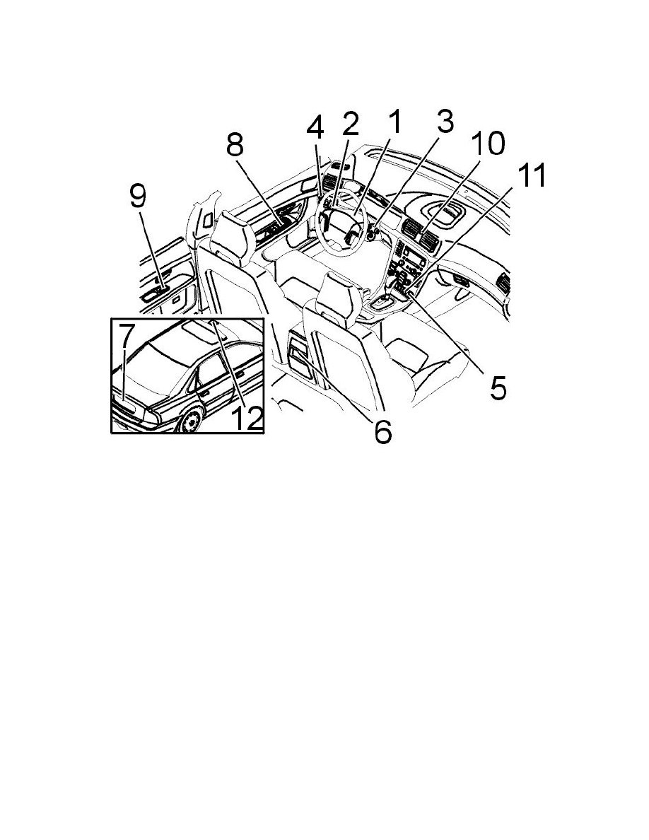
Turn Signal Switch: Locations

Other electrical components

Switches

Other Electrical Components (Switches)

2. Turn signal lamp and dip switch

Turn Signal Switch|Diagrams > < Trunk Lamp Switch|Service and Repair