Volvo Workshop Service and Repair Manuals
HOME
FEATURES
MENU
INDEX
ABOUT US
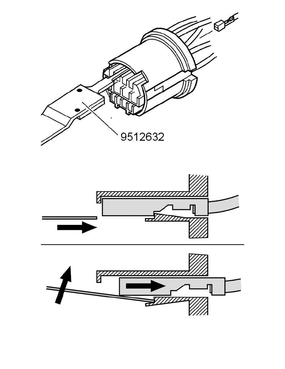
Diagram Information and Instructions|Page 5393 >
< Diagram Information and Instructions|Page 5391
V70 L5-2.5L Turbo VIN 59 B5254T2 (2004)
Powertrain Management
Computers and Control Systems
Information Bus / Diagrams / Diagram Information and Instructions
Page 5392
Page 41
Powertrain Management
Computers and Control Systems
Information Bus / Diagrams / Diagram Information and Instructions
Page 5392
Diagram Information and Instructions|Page 5393 >
< Diagram Information and Instructions|Page 5391