Volvo Workshop Service and Repair Manuals
HOME
FEATURES
MENU
INDEX
ABOUT US
Diagram Information and Instructions|Page 9852 >
< Diagram Information and Instructions|Page 9850
V70 L5-2.5L Turbo VIN 59 B5254T2 (2004)
Starting and Charging
Power and Ground Distribution
Auxiliary Power Outlet / Diagrams / Diagram Information and Instructions
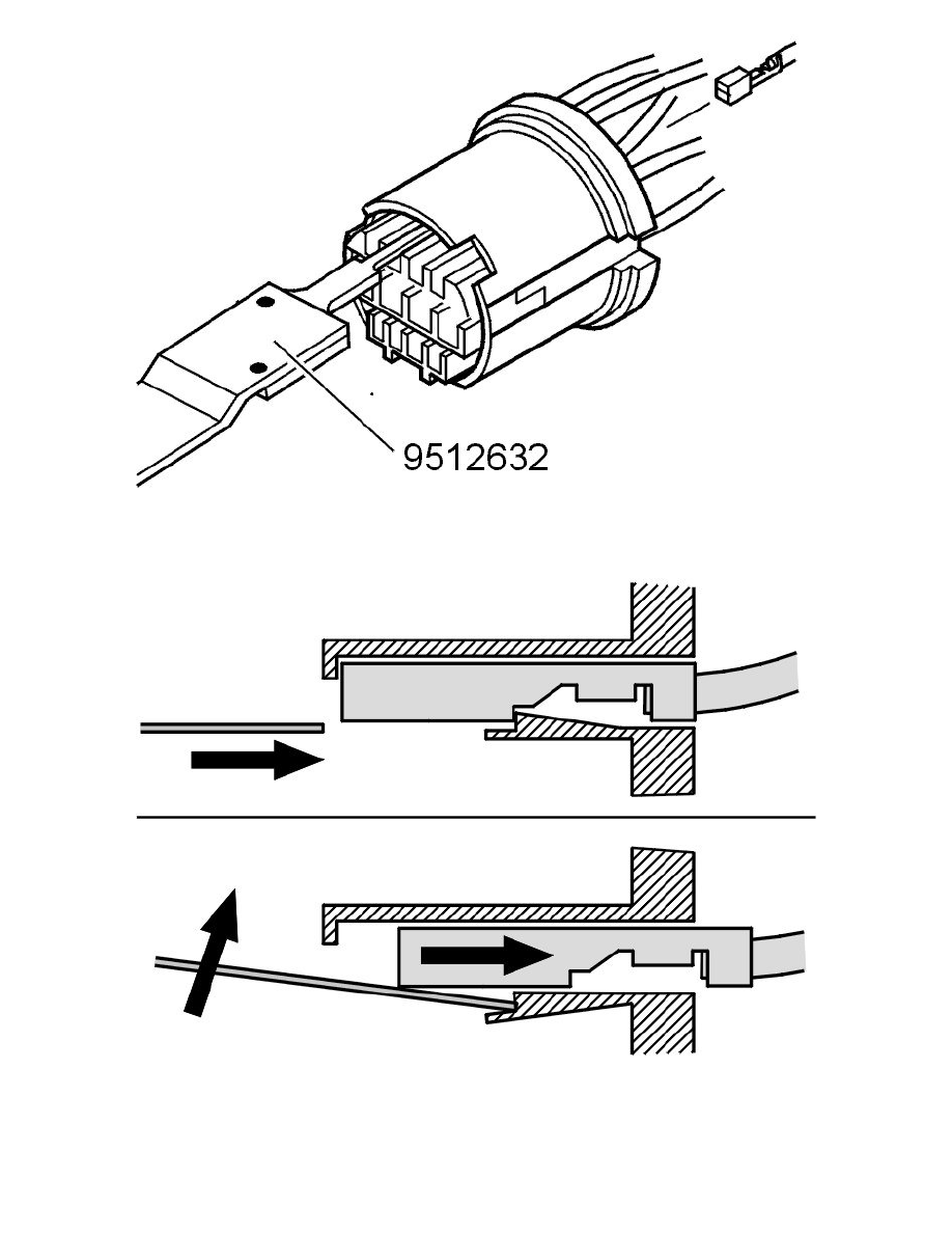
Page 9851
Page 41
Starting and Charging
Power and Ground Distribution
Auxiliary Power Outlet / Diagrams / Diagram Information and Instructions
Page 9851
Diagram Information and Instructions|Page 9852 >
< Diagram Information and Instructions|Page 9850