volvo Workshop Repair Guides

Volvo Workshop Service and Repair Manuals

Diagram Information and Instructions|Page 8657 > < Diagram Information and Instructions|Page 8655
Page 3
background image

Note! There is one fiber for the input and one for the output signal. The system will not work if the are interchanged.

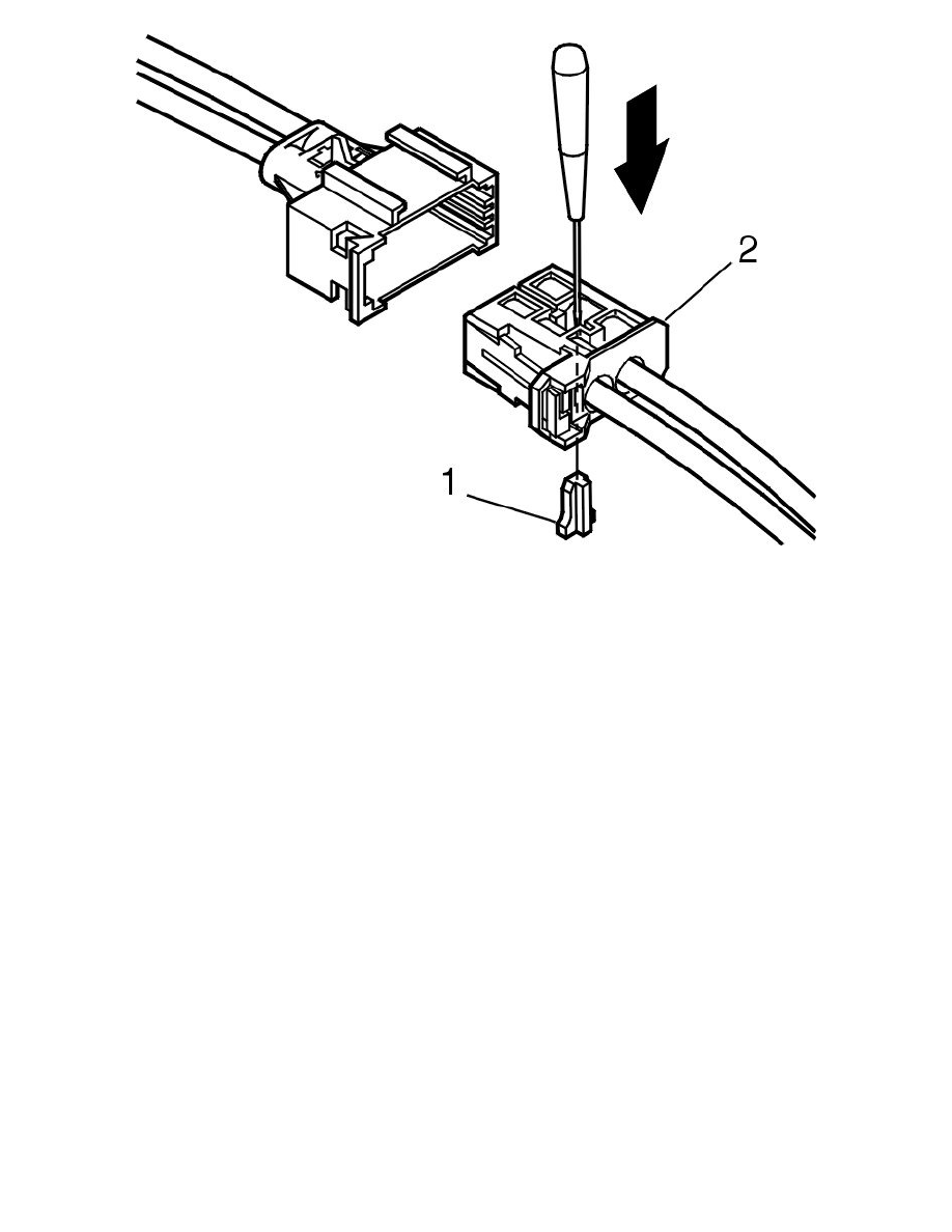
Press out the catch (1) using a screwdriver.

Diagram Information and Instructions|Page 8657 > < Diagram Information and Instructions|Page 8655