A3 Mk2
|

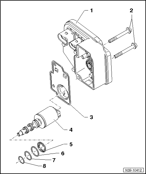
| 1 - | Four-wheel drive control unit -J492- |
| q | Is calibrated to match coupling opening control valve -N373- |
| q | Always renew together with valve |
| q | Removing and installing → Chapter |
| 2 - | Bolt, 6 Nm |
| 3 - | Cover |
| q | With vulcanised seal |
| q | Will remain attached to control unit or housing of Haldex coupling when control unit is removed |
| q | Always renew |
| 4 - | Coupling opening control valve -N373- |
| q | Calibrated to match four-wheel drive control unit -J492- |
| q | Always renew together with control unit |
| q | Removing and installing → Chapter |
| 5 - | Seal |
| q | Make sure that centring lips are correctly seated in groove |
| q | Lubricate lightly with high-performance oil for Haldex coupling before fitting |
| q | Always renew |
| 6 - | Seal |
| q | Diameter 12 mm |
| q | Lubricate lightly with high-performance oil for Haldex coupling before fitting |
| q | Always renew |
| 7 - | Seal |
| q | Diameter 11 mm |
| q | Lubricate lightly with high-performance oil for Haldex coupling before fitting |
| q | Always renew |
| 8 - | Seal |
| q | Diameter 10 mm |
| q | Lubricate lightly with high-performance oil for Haldex coupling before fitting |
| q | Always renew |
