| l
| The detent plate -top arrow- moves to the left and right. |
| l
| As it moves, the roller -4- should be able to engage in the individual notches one-by-one. |
| l
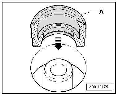
| Roller must be installed with the collar pointing downward, so that it cannot be pulled off upwards. |
| –
| Install automatic gearbox control unit -J217- → Chapter. |

Caution | If the hydraulic control unit has been renewed, carry out the following steps using a vehicle diagnostic tester: |
|
| –
| Using the diagnostic tester in Guided Fault Finding mode, go to Function/Component Selection and select the following menu items: |
| t
| 01 - Self-diagnosis-compatible systems |
| t
| 02 - Gearbox electronics |
| t
| 02 - Gearbox electronics, Functions |
| t
| 02 - Replace hydraulic control unit |
|
|
|