Inspecting Cylinder Head
ENGINE
20
OVERHAUL
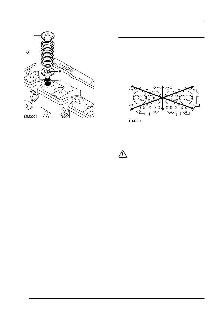
6. Remove spring cup, valve spring and spring
seat. Keep components in their fitted order.
7. Remove and discard valve stem oil seal.
8. Remove valve, and retain in fitted order.
9. Repeat above procedures for remaining
valves.
Cylinder head - inspection
1. Decarbonise cylinder head.
2. Examine cylinder head for cracks, pay
particular attention to area between inlet and
exhaust valve seats. Cracks indicate engine
has overheated and cylinder head must be
replaced.
3. Check core plugs for signs of corrosion and
leakage, replace as necessary.
4. Check cylinder head for warping using a
straight edge and feeler gauges.
Maximum warping = 0.08 mm
CAUTION: Cylinder head must not be
refaced, if warping exceeds figure given,
head must be replaced.
5. Check valve seat inserts for burning, pitting or
damage, replace inserts if pitting cannot be
removed by valve lapping-in or refacing.
