skoda Workshop Repair Guides

Skoda Workshop Service and Repair Manuals

Removing and installing the tandem pump (Superb II, Octavia II, Fabia II, Roomster) > < Removing and installing fuel delivery unit (Roomster)
Removing and installing fuel gauge senderG (Fabia II, Roomster)
Removing and installing fuel gauge sender -G- (Fabia II, Roomster)
Removing
  Note
When installing, observe the routing of the line connections.
   
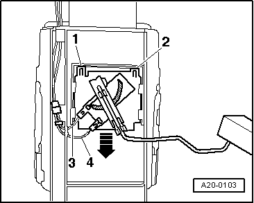
–  Unlatch and disconnect the contact studs of the el. wiring -3- and -4-.
–  Raise catches -1- and -2- with a screwdriver and remove the sender for fuel gauge display from the bottom -arrow-.
Install
–  Insert the sender for fuel gauge display -G- into the guides on the fuel delivery unit and press upwards until the catches latch into position.
–  Connect the contact studs of the el. wiring -3- and -4-.
–  Install the fuel delivery unit Fabia II → Chapter, Roomster → Chapter.
  A20-0103

Removing and installing the tandem pump (Superb II, Octavia II, Fabia II, Roomster) > < Removing and installing fuel delivery unit (Roomster)