Fabia Mk2
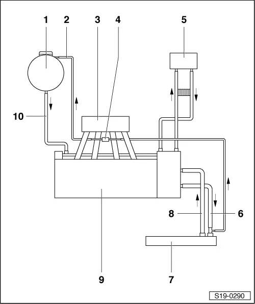
| Connection diagram for coolant hoses for engines with identification characters BXW up to 03/2009 and BUD |

| 1 - | Expansion reservoir |
| 2 - | Coolant hose |
| q | from heated vacuum regulating valve |
| 3 - | Intake manifold |
| 4 - | Preheating for crankcase ventilation |
| 5 - | Heat exchanger of heating system |
| 6 - | Bottom coolant hose |
| 7 - | Radiator |
| 8 - | Top coolant hose |
| 9 - | Cylinder head and cylinder block |
| 10 - | Coolant hose |
