skoda Workshop Repair Guides

Skoda Workshop Service and Repair Manuals

Testing fuel pump > < Removing and installing fuel delivery unit
Removing and installing the sender for fuel gauge displayG
Removing and installing the sender for fuel gauge display -G-
Removing
–  Remove fuel delivery unit → Chapter.
   
–  Unlock the securing tabs -arrows- using a screwdriver and pull out the sender for fuel gauge display -G- towards the top.
  A20-10067
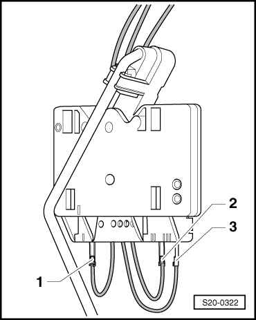
–  Unlatch and disconnect the plug connection of the lines -1- (brown), -2- (blue) and -3- (black).
Install
–  Connect the lines and check the connector for secure catch.
–  Insert the sender for fuel gauge display -G- in the guide at the fuel delivery unit and press downwards until it latches into position.
–  Install fuel delivery unit → Chapter.
  S20-0322

Testing fuel pump > < Removing and installing fuel delivery unit