Roomster
Note| The gearshift fork group with shift rails (-Pos. 1-) must not be disassembled for the disassembly and assembly of the shift segments, clamping plates and angular ball bearings. |

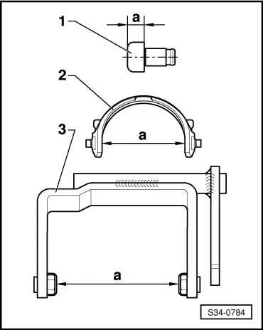
| 1 - | Gearshift fork group with shift rails |
| 2 - | 3rd/4th gear shift segment |
| q | Identification → Fig. |
| q | It must still be possible to rotate the shift segment freely once fitted |
| 3 - | Angular ball bearing |
| q | 4 pieces |
| q | pressing off → Fig. |
| q | installing → Fig. |
| 4 - | Circlip |
| q | always replace → Electronic Catalogue of Original Parts |
| q | removing → Fig. |
| q | installing → Fig. |
| 5 - | 1st/2nd gear shift segment |
| q | Identification → Fig. |
| q | It must still be possible to rotate the shift segment freely once the circlip has been fitted |
| q | Gearshift fork with shift segments |
| 6 - | 5th gear shift fork with shift segments |
| q | Shift segments are connected inseparably with the gearshift fork |
| q | Identification → Fig. |
| 7 - | Bearing bolt |
| q | for 5th gear shift fork |
|
|
|
|
|
|
Note
|
|
Note
|
|
|
|
