Roomster
| V-ribbed belt drive - Summary of components |
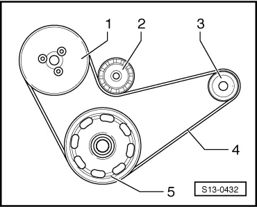
| Vehicles without air conditioning |

| 1 - | Fixing screw |
| q | replace |
| q | pay attention to different version |
| q | order of tightening → Chapter |
| q | The clamping surface of the fixing screw must be free of grease and oil. |
| q | When loosening and tightening counterhold the belt pulley with the counterholder -T30004 (3415)- with bolts -T30004/1 (3415/1)-. |
| 2 - | Crankshaft-belt pulley |
| q | Clamping surfaces must be free of oil and grease. |
| 3 - | 20 Nm |
| q | When loosening and tightening, counterhold with adapted wrench for the water pump and power-assisted steering -MP1-308-. |
| q | Adapt wrench for the water pump and power-assisted steering -MP1-308- → Chapter |
| 4 - | Belt pulley for coolant pump |
| q | removing and installing → Chapter |
| 5 - | 10 Nm |
| 6 - | Coolant pump |
| q | removing and installing → Chapter |
| 7 - | 25 Nm |
| 8 - | 23 Nm |
| 9 - | Tensioning pulley |
| q | swivel tensioning device for V-ribbed belt with open-end wrench to slacken the V-ribbed belt |
| q | can be interlocked in released position with locating pin -T10060- or 4 mm hexagon socket wrench. |
| 10 - | Generator |
| q | removing and installing → Electrical System; Rep. gr.27 |
| q | to facilitate positioning, drive the threaded bushings of the retaining screws at the generator slightly backwards |
| 11 - | V-ribbed belt |
| q | mark the direction of rotation with chalk or a felt-tip pen before removing |
| q | check for wear |
| q | do not kink |
| q | removing and installing → Chapter |
| q | Routing of the V-ribbed belt without AC compressor → Fig. |
|
|
| Vehicles with air conditioning |

| 1 - | V-ribbed belt |
| q | mark the direction of rotation with chalk or a felt-tip pen before removing |
| q | check for wear |
| q | do not kink |
| q | removing and installing → Chapter |
| q | Routing of the V-ribbed belt with AC compressor → Fig. |
| 2 - | Fixing screw |
| q | replace |
| q | pay attention to different version |
| q | order of tightening → Chapter |
| q | The clamping surface of the fixing screw must be free of grease and oil. |
| q | When loosening and tightening counterhold the belt pulley with the counterholder -T30004 (3415)- with bolts -T30004/1 (3415/1)-. |
| 3 - | Crankshaft-belt pulley |
| q | Clamping surfaces must be free of oil and grease. |
| 4 - | 20 Nm |
| q | When loosening and tightening, counterhold with adapted wrench for the water pump and power-assisted steering -MP1-308-. |
| q | Adapt wrench for the water pump and power-assisted steering -MP1-308- → Chapter |
| 5 - | Belt pulley for coolant pump |
| q | removing and installing → Chapter |
| 6 - | 10 Nm |
| 7 - | Coolant pump |
| q | removing and installing → Chapter |
| 8 - | 25 Nm |
| 9 - | 40 Nm |
| 10 - | Washer |
| 11 - | Guide pulley |
| 12 - | Washer |
| 13 - | Spacer sleeve |
| 14 - | Generator |
| q | removing and installing → Electrical System; Rep. gr.27 |
| q | to facilitate positioning, drive the threaded bushings of the retaining screws at the generator slightly backwards |
| 15 - | 20 Nm + torque a further 90° (1/4 turn) |
| q | replace |
| 16 - | 25 Nm |
| 17 - | AC compressor |
| q | removing and installing → Air conditioning; Rep. gr.87 |
| 18 - | 25 Nm |
| 19 - | Fitting sleeve |
| 20 - | Bracket for AC compressor |
| 21 - | Tensioning pulley |
| q | swivel with ring spanner to slacken the belt |
| q | secure in released position with 4 mm hexagonal headed wrench. |
| q | to remove, release screw -Pos. 15- |
|
|
