Golf Mk3
Note
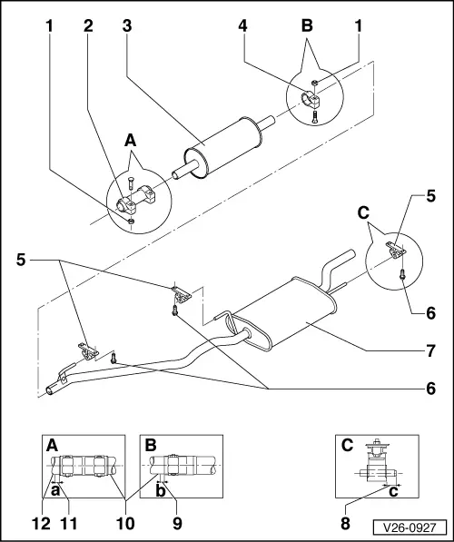
|

| 1 - | 40 Nm |
| 2 - | Double clamp |
| 3 - | Front silencer |
| 4 - | Clamp |
| 5 - | Mounting |
| q | Note various versions → Fig. |
| 6 - | 25 Nm |
| 7 - | Rear silencer |
| 8 - | Dimension -c- = at least 10 mm |
| 9 - | Dimension -b- = approx. 5 mm |
| 10 - | Marking |
| q | Three times on circumference |
| 11 - | Dimension -a- = approx. 5 mm |
| 12 - | Marking |
| q | Three times on circumference |
| S = manual gearbox |
| A = automatic gearbox |

Note