volkswagen Workshop Repair Guides

Volkswagen Workshop Service and Repair Manuals

Removing and installing wheel bearing, suspension strut and drive shaft (Base running gear) > < Checking swivel joint
Running gear
Servicing front suspension (Base running gear)
Reworking cap nut in side member

If the threads of the cap nut in the side member are damaged, the thread must either be retapped or the cap nut must be drilled out.

When drilling out proceed as follows.

  • ‒ Support engine/gearbox assembly with 10-222 A and legs 10-222 A/1.
  • ‒ Remove the sub-frame.
  • ‒ Drill out the damaged side member cap nut with a drill from underneath.

Note:

When drilling do not cant the drill.

Warning!
Wear protective goggles.
  • ‒ Cut new thread in cap nut.
  • ‒ Use a new combi bolt to secure sub-frame.

Securing point

Thread

Bolt

Part No.

Front sub-frame

M12 x 1.5

M12 x 1.5 x 100 (10.9)

N 101 418.011)

Rear sub-frame

M12 x 1.5

M12 x 1.5 x 100 (10.9)

N 101 418.011)

Sub-frame bracket

M10

M10 x 40 (10.9)

N 100 596.041)

1)    These bolts are not listed on the parts microfiche. They must be specially ordered.

Note:

Tightening torque remains unchanged.

 
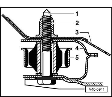
V40-0941

→ 1 - Combi bolt

2 - Cap nut

3 - Side member

4 - Sub-frame

5 - Bonded rubber mounting/wishbone

Removing and installing wheel bearing, suspension strut and drive shaft (Base running gear) > < Checking swivel joint