volkswagen Workshop Repair Guides

Volkswagen Workshop Service and Repair Manuals

Checking coolant temperature sender G62 > < Line and component check with adapter cable (68-pin) V.A.G 1598/18A or adapter V.A.G 1598/22
Checking engine speed senderG28
Checking engine speed sender -G28-
Engine speed sender -G28- is speed and reference mark sender. If it fails, the engine will continue to run in emergency mode; substitute sender is needle lift sender -G80-.
Special tools and workshop equipment required
t  Adapter cable (68-pin) -V.A.G 1598/18A- or adapter -V.A.G 1598/22-
t  Hand multimeter -V.A.G 1526C- or multimeter -V.A.G 1715-
t  Auxiliary measuring set -V.A.G 1594C-
t  Current flow diagram
Test procedure
–  Switch off ignition.
–  Disconnect connector for engine speed sender -G28- ⇒ Installation location overview, page → Chapter.
   
–  Measure resistance between connector contacts 1+2.
Specification: 1.0…1.5 kΩ
If the specification is not achieved:
–  Renew engine speed sender -G28- → Engine mechanical system; Rep. Gr.13
If the specification is attained:
Engine code AGD (with 68-pin control unit)
  N23-0019
–  Connect adapter cable, 68-pin -V.A.G 1598/18A- to control unit wiring harness.
  V29-0062
–  Check lines between adapter cable (68-pin) -V.A.G 1598/18A- and 3-pin connector for open circuit according to current flow diagram. Contact 1 + socket 33 Contact 2 + socket 8 Contact 3 + socket 1.
Cable resistance: max. 1.5 Ω.
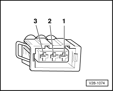
Engine codes AGD (with 80-pin control unit), AHG, AKU
  V28-1074
–  Connect adapter -V.A.G 1598/22- to control unit wiring harness.
  N23-0197
–  Check lines between adapter -V.A.G 1598/22- and 3-pin connector for open circuit using current flow diagram. Contact 1 + socket 69 Contact 2 + socket 67 Contact 3 + socket 71
Cable resistance: max. 1.5 Ω.
Continuation for all engine codes
–  Check cables at 3-fold connector for short circuit to one another according to current flow diagram.
Specification: ∞ Ω.
If no fault in lines is detected:
–  Renew diesel direct injection system control unit -J248- → Chapter.
  V28-1074

Checking coolant temperature sender G62 > < Line and component check with adapter cable (68-pin) V.A.G 1598/18A or adapter V.A.G 1598/22