R32 4Motion V6-3.2L (CBRA) (2008)
Exhaust Manifold: Service and Repair
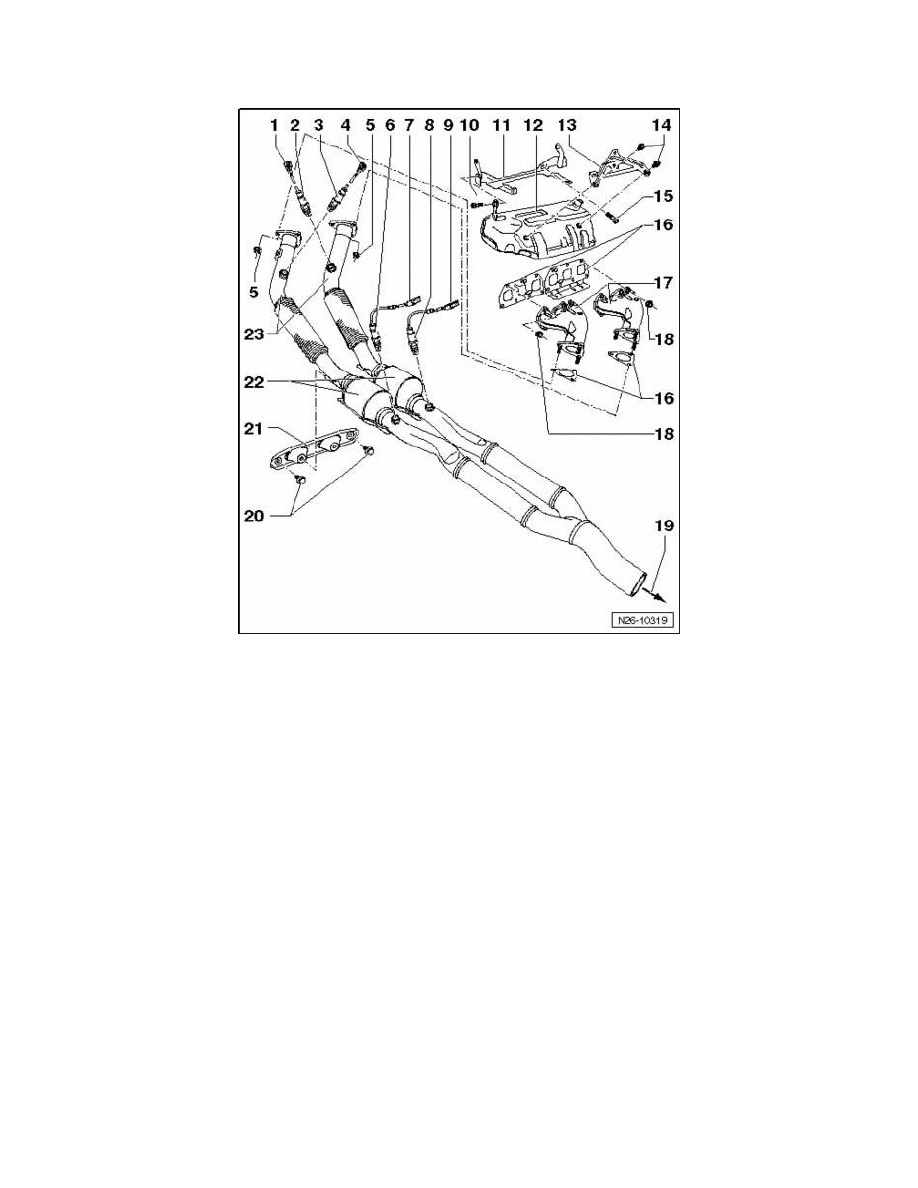
Exhaust Manifold And Front Pipe With Catalytic Converters Assembly Overview
1
-
Connector
-
Black, 6 pin
2
-
Heated oxygen sensor G39, 55 Nm
-
Installed in the exhaust gas stream of cylinders 1, 2 and 3
-
Only use hot bolt paste G 052 112 A3 to grease thread; do not let hot bolt paste G 052 112 A3 get onto slits of oxygen sensor b
-
Use ring spanner set for oxygen sensor 3337 for removal and installation
3
-
Heated Oxygen Sensor (HO2S) 2 G108, 55 Nm
-
Installed in the exhaust gas stream of cylinders 4, 5 and 6
-
Only use hot bolt paste G 052 112 A3 to grease thread; do not let hot bolt paste G 052 112 A3 get onto slits of oxygen sensor body
-
Use ring spanner set for oxygen sensor 3337 for removal and installation
4
-
Connector
-
Brown, 6 pin
5
-
40 Nm
-
Replace
6
-
Oxygen Sensor (O2S) 2 behind Three Way Catalytic Converter (TWC) G131, 55 Nm
-
Installed in the exhaust gas stream of cylinders 4, 5 and 6
-
Only use hot bolt paste G 052 112 A3 to grease thread; do not let hot bolt paste G 052 112 A3 get onto slits of oxygen sensor b
-
Use ring spanner set for oxygen sensor 3337 for removal and installation
7
-
Connector
-
Brown, 4 pin
8
-
Oxygen Sensor (O2S) behind three Way Catalytic Converter (TWC) G130, 55 Nm
-
Installed in the exhaust gas stream of cylinders 1, 2 and 3
-
Only use hot bolt paste G 052 112 A3 to grease thread; do not let hot bolt paste G 052 112 A3 get onto slits of oxygen sensor b
-
Use ring spanner set for oxygen sensor 3337 for removal and installation
9
-
Connector
-
Black, 4 pin
10
-
20 Nm
11
-
Front intake manifold support
12
-
Heat shield
