C70 Convertible L5-2.3L Turbo VIN 53 B5234T3 (1998)
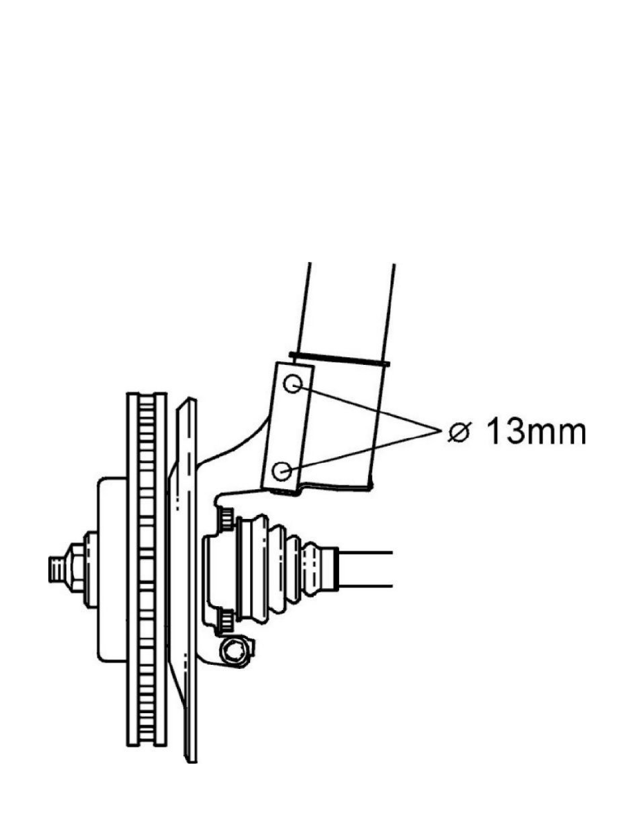
Note! Fit new screws and nuts to the wheel spindles.
Tighten the screws slightly - only enough that the wheel spindle can be moved with some resistance outward or inward in relation to the bumper support.
Then turn the wheel spindle outward or inward as much as the clearance between the hole and screw allows.
After adjustment, tighten both screws to
65 and angle tighten to 90° .
Mount the wheels.
Apply anti-corrosion agent, part number 1161030-0, to the hub guide.
Insert the lug bolts. Then tighten in a crisscross pattern to
110 Nm .
Note! See also Wheels and hubs, front suspension See: Wheels and Tires/Specifications/Mechanical Specifications/Front Suspension.
Recheck camber angle and toe-in.
Modifications To Stub Axles
Modifications to stub axles, from model year 1994
Modifications to the stub axles affect the camber angle adjustment on model year 1994-
