S80 2.9 L6-2.9L VIN 94 B6294S (2000)
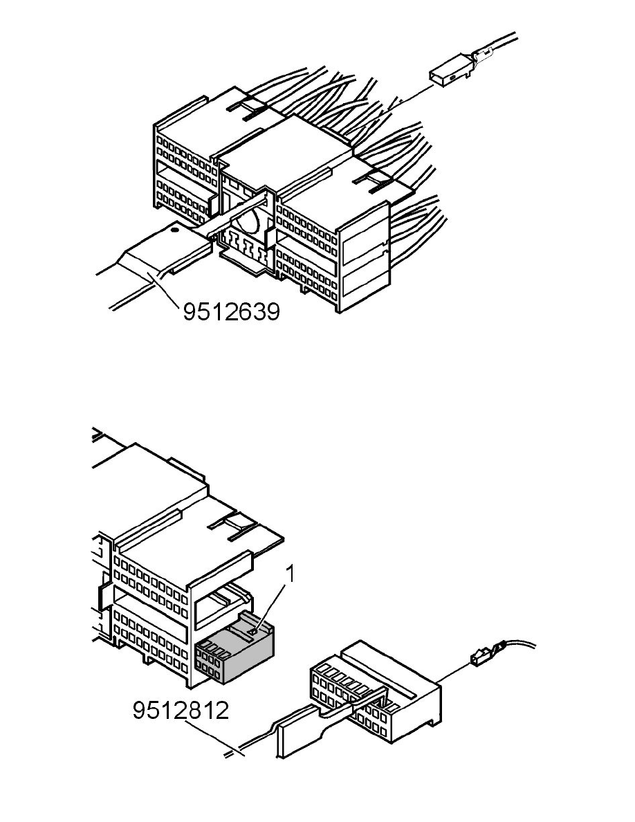
Use tool951 2639 Terminal removal tool See: Tools and Equipment/951 2639 Terminal Removal Tool to remove the center cable terminals, as
illustrated.
At the same time pull the cable carefully backwards.
Release the inner housing section on the socket housing by lifting the sleeve beside the catch and pulling the housing section outwards.
Disconnect the cable terminals. Use tool951 2812 Terminal removal tool See: Tools and Equipment/951 2812 Terminal Removal Tool or951 2637
