Fabia Mk2
|

| 1 - | Bushing |
| q | for gearshift shaft |
| q | pressing in and pressing out → Chapter |
| 2 - | Gearshift shaft with cover |
| q | replace jointly |
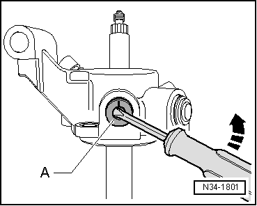
| 3 - | Locking bolt |
| q | for setting the gearshift mechanism |
| q | removing → Fig. |
| q | inserting → Fig. |
| 4 - | Reversing lever |
| q | Fitting position → Chapter |
| q | as of 06.07 the relay level is made of plastic |
| q | Removing and installing plastic relay lever together with cable lock → Chapter |
| q | If the relay lever is made of plastic, neither the bushings -Pos. 5- nor the lock washer -Pos. 10- are required |
| 5 - | Bushing |
| q | is not required, if the relay lever is made of plastic |
| 6 - | Sealing ring |
| q | release with a screwdriver |
| q | installing → Fig. |
| 7 - | Cap |
| q | for gearbox bleeder |
| 8 - | Gearshift lever |
| q | insert in such a way that the interrupted spacing of the teeth matches the gearshift shaft |
| q | may be replaced with the gearshift mechanism mounted |
| q | Fitting position → Chapter |
| 9 - | 20 Nm |
| q | self-locking |
| q | always replace → Electronic Catalogue of Original Parts |
| 10 - | Lock washer |
| q | always replace → Electronic Catalogue of Original Parts |
| q | is not required, if the relay lever is made of plastic |
|
|
|
|
|
|
